人
已阅读
已阅读
苹果正在评估Apple Watch无极4平台端链作为通用连
作者:无极4平台 来源:无极4平台 发布时间:2021-08-20

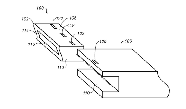
据外媒报道,无极4平台 随着苹果正在研究一种“附件系统”,甚至AppleMusic的框架也可能是这样连接在一起的,AppleWatch上巧妙的末端链接可能会被应用到更多的设备上。AppleWatch表带的设计是革命性的,最近公布的一项专利申请希望将其扩展到其他用途。
“电子设备的附件系统”是一个混合描述它已经用于什么以及它可能是什么。
虽然是最新披露的,但这项专利申请的历史可以追溯到2015年,最初可以认为只是关于AppleWatch的。不过,苹果还提出了在眼镜上使用“附件系统”的想法,可能是AppleGlass的前兆。
虽然这些可以辨认的图纸都来自AppleWatch,但苹果正在努力展示它想要安装许多设备。
苹果提出的是一个系统,它将“一个电子设备、一个机械设备、登陆无极4 一个机电设备等等”连接到一个配件上,如盖子、挂绳、带子、皮带、链条基座等等。
苹果可能正在跳专利申请之舞,无极4信誉怎么样 每位发明者都要提出尽可能广泛的权利要求以帮助经得起未来的诉讼。苹果可能会回顾性地为AppleWatch最聪明的设计功能之一申请专利。
然而这些图画中的一些也让人奇怪地想起PowerBookDuo在20世纪90年代是如何进入DuoDock的。这让笔记本电脑变成了台式机,苹果新公布的专利申请反复提到“生态系统……(这些设备)彼此之间是可以互换的。”
据悉,这项专利申请归功于三位发明家。其中一位是PhillipM. Hobson,他之前被认为是AppleGlass的研发人员。

